NMPA注銷289個批準文號
來源:蒲公英 作者: 時間:2020-3-18 閱讀:
2020年03月17日國家藥品監督管理局(NMPA)連續發布了6個關于安乃近注射液、含磺胺二甲嘧啶制劑、羥布宗片等品種注銷公告。
本次公告品種涉及11個品種289個批準文號,屬于經國家藥品監督管理局組織進行了上市后評價,認為風險大于獲益,要求自即日起停止生產銷售使用,已上市銷售的應召回。
涉及的主要品種:
安乃近注射液、安乃近氯丙嗪注射液、小兒安乃近灌腸液、安乃近滴劑、安乃近滴鼻液、滴鼻用安乃近溶液片、小兒解熱栓、磺胺二甲嘧啶片、磺胺二甲嘧啶混懸液、小兒復方磺胺二甲嘧啶散、羥布宗片。
安乃近相關的制劑
安乃近是吡唑酮類解熱鎮痛藥,在我國上市時間較早,制劑種類包括口服制劑、注射劑、滴鼻液等。隨著醫藥技術發展以及不良反應監測工作的深入,藥品安全風險認知將更加全面,風險獲益比可能發生變化。國家藥品監督管理部門高度關注該類品種安全性問題,開展了相關評估和風險警示工作。
經國家藥品監督管理部門組織評價,認為安乃近注射液、安乃近氯丙嗪注射液、小兒安乃近灌腸液、安乃近滴劑、安乃近滴鼻液、滴鼻用安乃近溶液片、小兒解熱栓存在嚴重過敏反應、粒細胞缺乏癥等嚴重不良反應,風險大于獲益,且臨床均有替代藥品,根據《中華人民共和國藥品管理法》第八十三條,予以注銷藥品注冊證書。
安乃近片等口服制劑保留
安乃近片等口服制劑尚有一定臨床價值,對安乃近片、重感靈片、重感靈膠囊、復方青蒿安乃近片采取修訂說明書的風險控制措施,增加安全警示信息,限制適用人群和適應癥范圍。
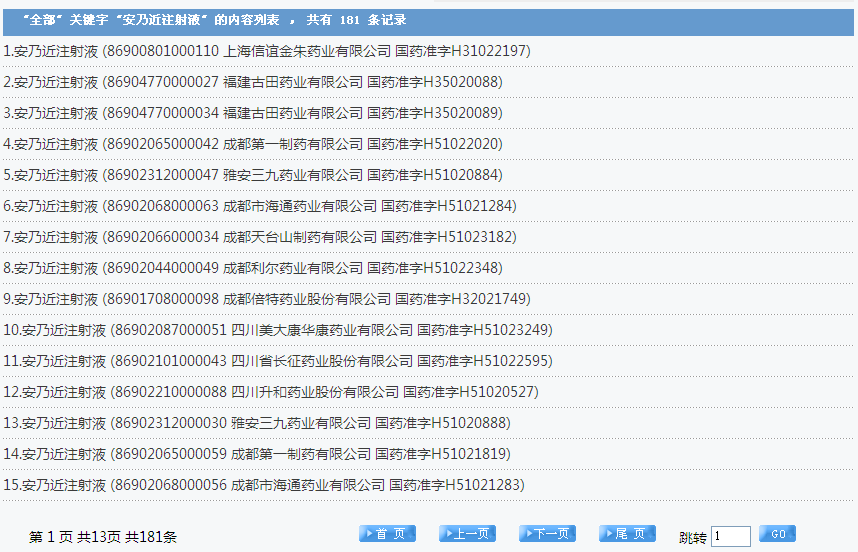
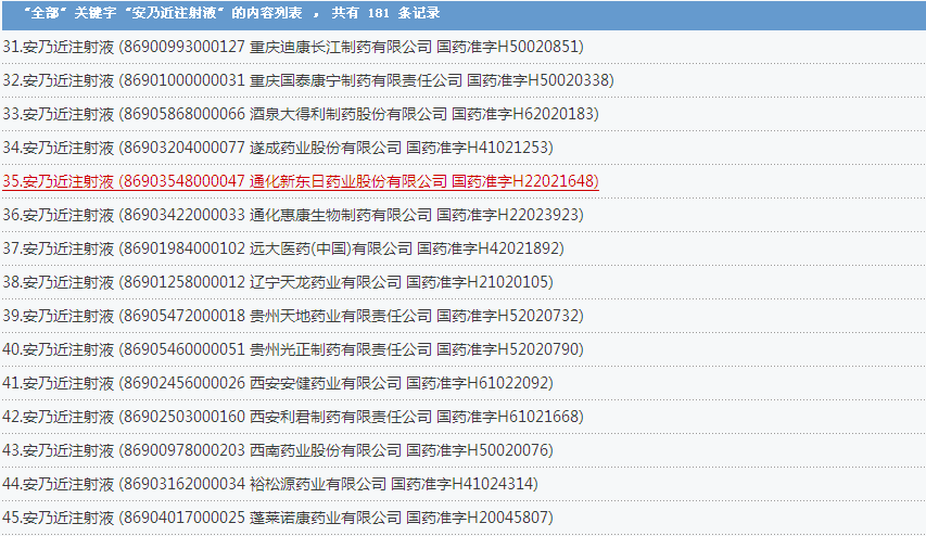
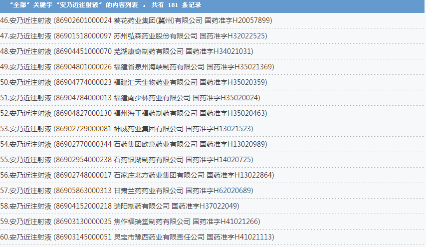
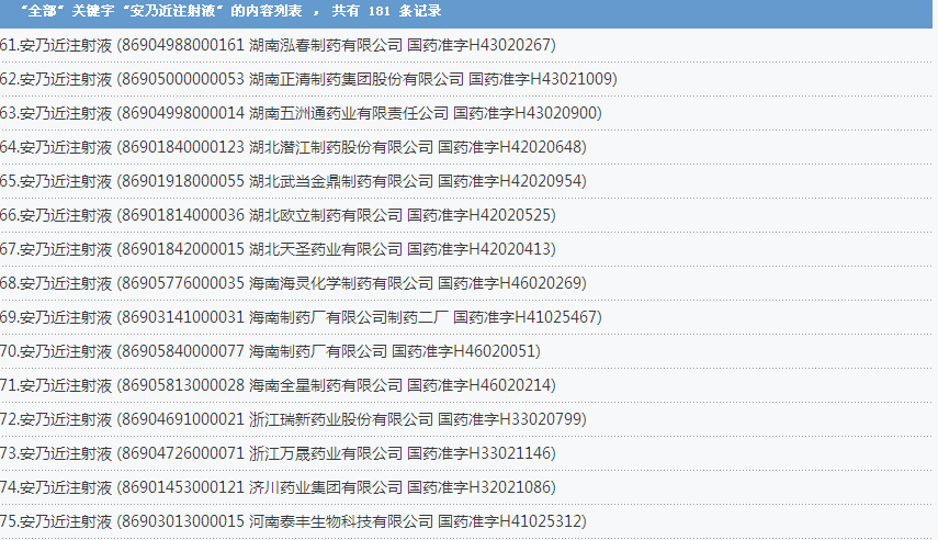
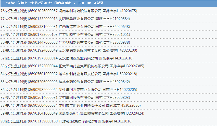
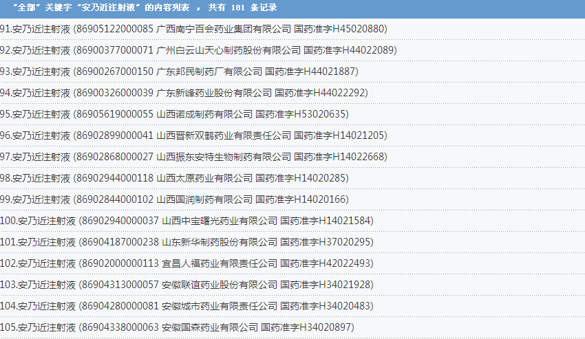
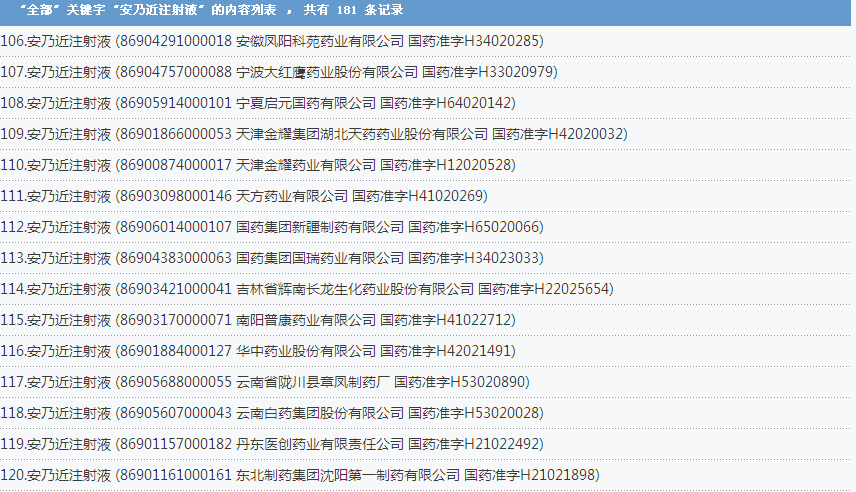
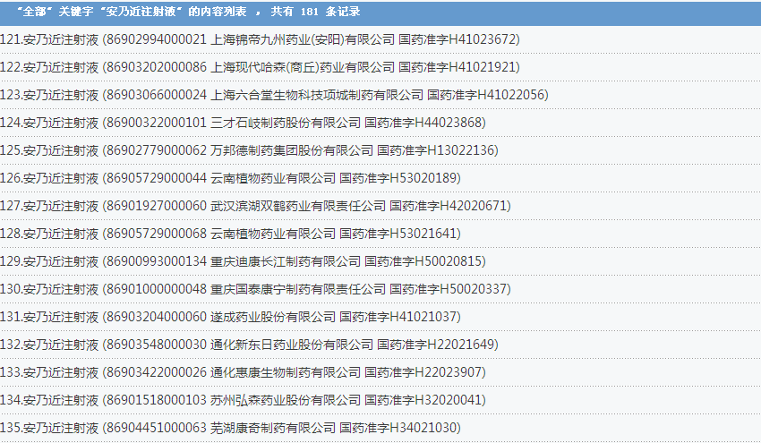
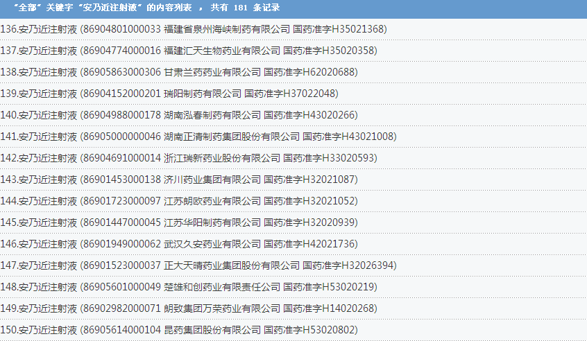
安乃近注射液:國內共有181個批準文號,涉及了上海信誼金朱藥業有限公司、福建古田藥業有限公司、成都第一制藥有限公司等企業:













安乃近氯丙嗪注射液:6個批準文號

小兒安乃近灌腸液:2個批準文號

安乃近滴劑:1個批準文號

安乃近滴鼻液:1個批準文號

滴鼻用安乃近溶液片:1個批準文號

小兒解熱栓:3個批準文號

含磺胺二甲嘧啶等制劑
國家藥品監督管理局組織對含磺胺二甲嘧啶制劑進行了上市后評價,評價認為含磺胺二甲嘧啶制劑存在嚴重不良反應,在我國使用風險大于獲益,決定自即日起停止含磺胺二甲嘧啶制劑在我國的生產、銷售和使用,注銷藥品注冊證書(藥品批準文號)。已上市銷售的含磺胺二甲嘧啶制劑由生產企業負責召回,召回產品由企業所在地藥品監督管理部門監督銷毀。
含磺胺二甲嘧啶制劑是磺胺類抗感染藥,在我國上市的品種有磺胺二甲嘧啶片、磺胺二甲嘧啶混懸液、小兒復方磺胺二甲嘧啶散,適應癥為腦膜炎球菌、肺炎球菌以及某些革蘭氏陰性桿菌引起的感染,嚴重不良反應主要涉及皮膚及血液系統。
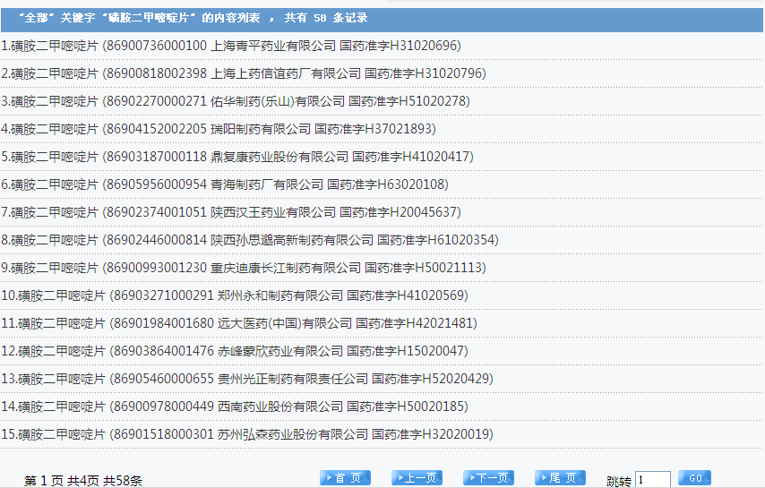
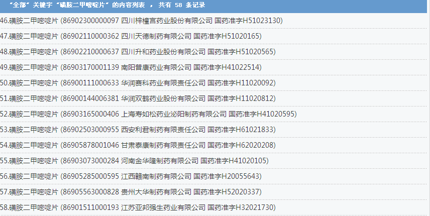
磺胺二甲嘧啶片:58個批準文號




磺胺二甲嘧啶混懸液:4個批準文號

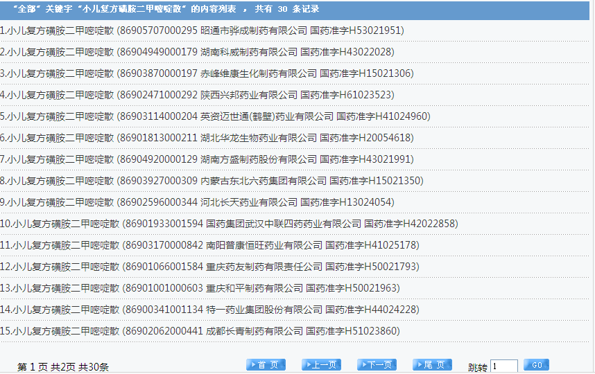
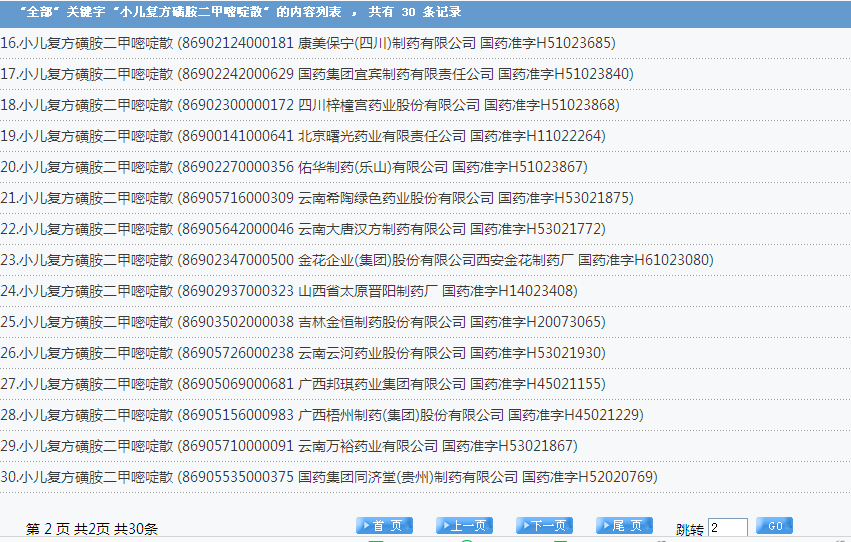
小兒復方磺胺二甲嘧啶散:30個批準文號:


羥布宗片
國家藥品監督管理局組織對羥布宗片進行了上市后評價,評價認為羥布宗片存在嚴重不良反應,在我國使用風險大于獲益,決定自即日起停止羥布宗片在我國的生產、銷售和使用,注銷藥品注冊證書(藥品批準文號)。已上市銷售的羥布宗片由生產企業負責召回,召回產品由企業所在地藥品監督管理部門監督銷毀。
羥布宗片為解熱鎮痛抗炎藥,適應癥為風濕性、類風濕性關節炎及痛風,嚴重不良反應主要涉及血液系統。
羥布宗片:

上篇:
下篇:






甘公網安備 62010002000454號